PE/RAME DRITTO

COMBUSTIBLE GAS use WATER use DRINKING WATER use
Raccordo di transizione PE/rame con terminale a saldare. Realizzato tramite stampaggio ad iniezione, viene impiegato per il collegamento di materiali differenti (di cui uno sia polietilene) su impianti ditubazioni per il trasporto di gas combustibile. E' consigliato l'utilizzo anche su impianti acqua e soprattutto acqua potabile per la sua funzione antibatterica.

Materiali
  • Tronchetto in rame secondo UNI EN 1057,lega di rame CU-DHP CW024A secondo UNI 5649,
  • Codolo in polietilene alta densità PE100, vergine di colore nero.
Certificazioni
Annotazioni tecniche
  • Giunzione a passaggio totale isolata dalle infiltrazioni esterne conforme alla UNI 9736,
  • Collaudato a pressione secondo ISO 1167,
  • Dimensionale polietilene secondo UNI EN 1555-3,
Normative
  • UNI EN 1555-3
  • ISO 4437-3
  • UNI EN ISO 15494

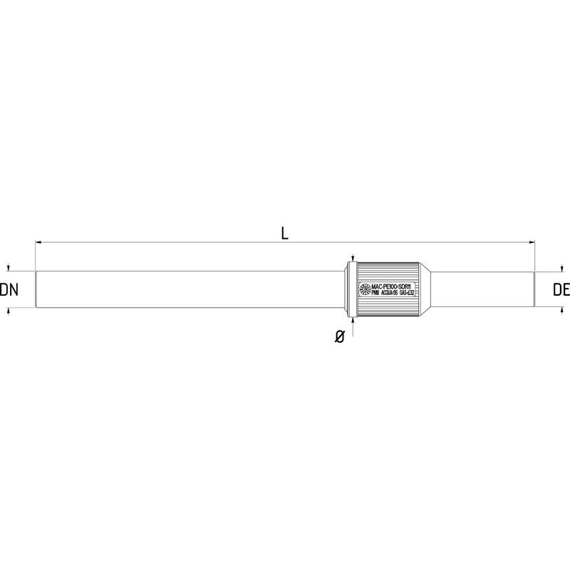
Dimensionali

Codice DE (mm) DN (mm) Ø (mm) L (mm) Peso (kg)
1280025018 25 18 45 415 0.45
1280025022 25 22 45 415 0.55
1280032018 32 18 51 415 0.50
1280032022 32 22 51 415 0.60
1280032028 32 28 51 415 0.70
1280040028 40 28 63 420 0.50
1280040035 40 35 63 420 0.55