PE/STEEL STRAIGHT WITH WELDABLE TERMINAL

COMBUSTIBLE GAS use
PE/steel transition fitting with weldableterminal. Made by injection moulding, itis used for connection of different materials (one of which is polyethylene) on fuel gas piping systems.
MOP 10 bar
MOP
S5 (SDR11)

Materials
  • Carbon steel tubing according to ISO 3183/API 5L covered on the outside in a triple layer of yellow LDPE class R3R in accordance with DIN30670/ISO21809.
  • Virgin high density polyethylene PE100 spigot, black.
  • NBR 70 Sh. A O-ring approved for gas and potable water (DVGW).
  • Powder coated S355J2H steel outer sealing ring (thick.200µm).
Certifications
  • UNI EN 1555-3 (KIWA KIP-095784)
  • UNI EN ISO 15494 (KIWA KIP-095785)
  • DVGW G5600-1 (DW-7521CR0259)
  • WATERMARK AS/NZS 4129 (WM 74644)
Technical notes
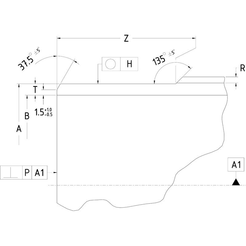
  • Metal/PE connection compliant with UNI 9736, with full bore passage and insulation against external infiltrations.
  • Subject to pressure testing according to ISO 1167 and additional MACPLAST test specification.
  • Serves as dielectric connection according to UNI 7129, as it is triple layer coated.
  • Polyethylene dimensions according to UNI EN 1555-3, standard thickness SDR11.
  • Metal dimensions according to ISO 3183.
  • Weld-on terminal chamfered at 37.5° degree angle according to EN 12627.
Additional features
  • Fitted with internal safety o-ring.
More information
  • Injection moulded fittings up to DE225 x 8".
  • Larger diameters are produced through mechanical assembly with outer sealing ring.
  • S8 (SDR17) spigot on request from DE250x8".
Standards
  • UNI EN 1555-3
  • ISO 4437-3
  • UNI EN ISO 15494
  • UNI EN 10226-1

Dimensional

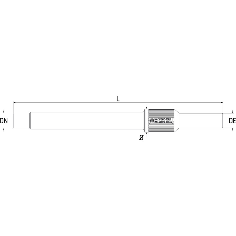
Reference DE (mm) DN (inch) DN (mm) Ø (mm) L (mm) Weight (kg)
0030020015 20 1/2" 15 45 425 0.45
0030025020 25 3/4" 20 45 460 0.65
0030032025 32 1" 25 50 460 0.95
0030040032 40 1 1/4" 32 65 470 1.25
0030050040 50 1 1/2" 40 70 480 1.45
0030063050 63 2" 50 90 480 2.15
0030075065 75 2 1/2" 65 95 540 2.95
0030090080 90 3" 80 115 580 3.95
0030110080 110 3" 80 150 580 4.80
0030110100 110 4" 100 150 585 7.05
0030125100 125 4" 100 155 585 7.30
0030140125 140 5" 125 165 580 8.00
0030160150 160 6" 150 210 610 10.50
0030180150 180 6" 150 210 610 11.00
0030200200 200 8" 200 260 630 17.50
0030225200 225 8" 200 260 610 18.00
0030250200 250 8" 200 265 630 22.50
0030250250 250 10" 250 325 640 30.50
0030280250 280 10" 250 325 640 31.00
0030315250 315 10" 250 345 660 38.50
0030315300 315 12" 300 370 725 46.50
0030355300 355 12" 300 370 735 48.00
0030355350 355 14" 350 420 770 60.00
0030400350 400 14" 350 420 720 62.00
0030400400 400 16" 400 475 770 83.20
0030450400 450 16" 400 485 770 83.20
0030450450 450 18" 450 530 870 126.50
0030450500 450 20" 500 590 1050 125.00
0030500500 500 20" 500 590 1050 127.50
0030500530 500 21" 530 635 1020 181.50
0030560500 560 20" 500 590 850 121.00
0030630530 630 21" 530 665 1020 199.50
0030630600 630 24" 600 735 1100 242.00