PE/ACCIAIO DRITTO CON TERMINALE LISCIO A SALDARE

COMBUSTIBLE GAS use
Raccordo di transizione PE/acciaio con terminale a saldare. Realizzato tramite stampaggio ad iniezione, viene impiegato per il collegamento di materiali differenti (di cui uno sia polietilene) su impianti di tubazioni per il trasporto di gas combustibile.
MOP 10 bar
MOP
S5 (SDR11)

Materiali
  • Tronchetto in acciaio al carbonio secondo ISO 3183/API 5L rivestito esternamente triplo strato in LDPE giallo classe R3R secondo DIN30670-ISO21809,
  • Codolo in polietilene alta densità PE100, vergine di colore nero,
  • O-ring in NBR 70 Sh,A certificato gas e acqua potabile (DVGW),
  • Anello esterno di tenuta in acciaio S355J2H verniciato a polvere (sp.200µm).
Certificazioni
  • UNI EN 1555-3 (KIWA KIP-095784)
  • UNI EN ISO 15494 (KIWA KIP-095785)
  • DVGW G5600-1 (DW-7521CR0259)
  • WATERMARK AS/NZS 4129 (WM 74644)
Annotazioni tecniche
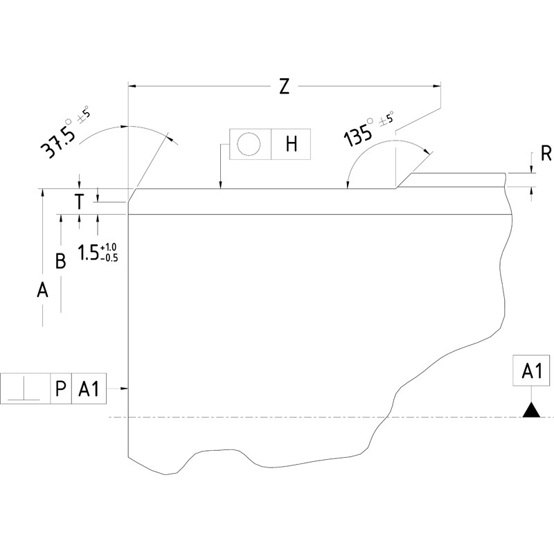
  • Giunzione metallo/PE conforme alla UNI 9736, a passaggio totale e isolata dalle infiltrazioni esterne,
  • Collaudato con prove a pressione secondo ISO 1167 e ulteriore specifica di collaudo MACPLAST,
  • Funge da giunto dielettrico secondo la UNI 7129 in quanto rivestito in triplo strato,
  • Dimensionale polietilene secondo UNI EN1555-3, spessore standard SDR11,
  • Dimensionale metallo secondo ISO 3183, terminale liscio a saldare con smusso 37.5° secondo EN 12627.
Caratteristiche aggiuntive
  • Dotato di o-ring di sicurezza interno.
Altre informazioni
  • Raccordi stampati fino al DE225 x 8",
  • I grandi diametri sono realizzati tramite assemblaggio meccanico con anello esterno di tenuta,
  • A richiesta codolo in S8 (SDR17) dal DE250x8".
Normative
  • UNI EN 1555-3
  • ISO 4437-3
  • UNI EN ISO 15494
  • UNI EN 10226-1

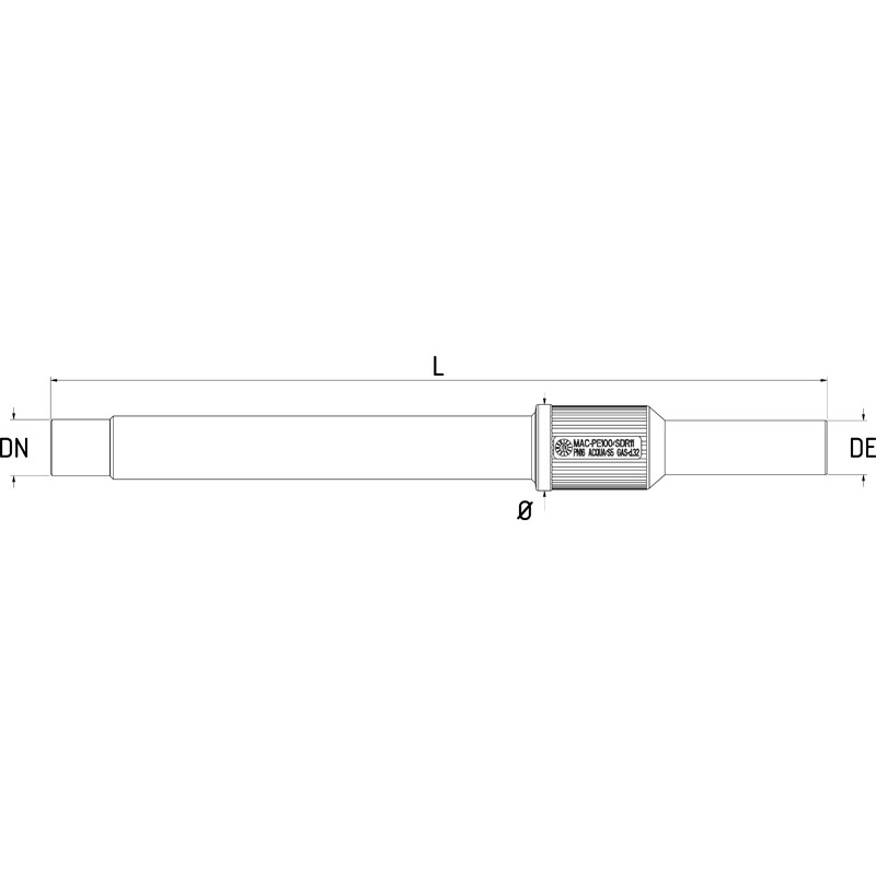
Dimensionali

Codice DE (mm) DN (inch) DN (mm) Ø (mm) L (mm) Peso (kg)
0030020015 20 1/2" 15 45 425 0.45
0030025020 25 3/4" 20 45 460 0.65
0030032025 32 1" 25 50 460 0.95
0030040032 40 1 1/4" 32 65 470 1.25
0030050040 50 1 1/2" 40 70 480 1.45
0030063050 63 2" 50 90 480 2.15
0030075065 75 2 1/2" 65 95 540 2.95
0030090080 90 3" 80 115 580 3.95
0030110080 110 3" 80 150 580 4.80
0030110100 110 4" 100 150 585 7.05
0030125100 125 4" 100 155 585 7.30
0030140125 140 5" 125 165 580 8.00
0030160150 160 6" 150 210 610 10.50
0030180150 180 6" 150 210 610 11.00
0030200200 200 8" 200 260 630 17.50
0030225200 225 8" 200 260 610 18.00
0030250200 250 8" 200 265 630 22.50
0030250250 250 10" 250 325 640 30.50
0030280250 280 10" 250 325 640 31.00
0030315250 315 10" 250 345 660 38.50
0030315300 315 12" 300 370 725 46.50
0030355300 355 12" 300 370 735 48.00
0030355350 355 14" 350 420 770 60.00
0030400350 400 14" 350 420 720 62.00
0030400400 400 16" 400 475 770 83.20
0030450400 450 16" 400 485 770 83.20
0030450450 450 18" 450 530 870 126.50
0030450500 450 20" 500 590 1050 125.00
0030500500 500 20" 500 590 1050 127.50
0030500530 500 21" 530 635 1020 181.50
0030560500 560 20" 500 590 850 121.00
0030630530 630 21" 530 665 1020 199.50
0030630600 630 24" 600 735 1100 242.00