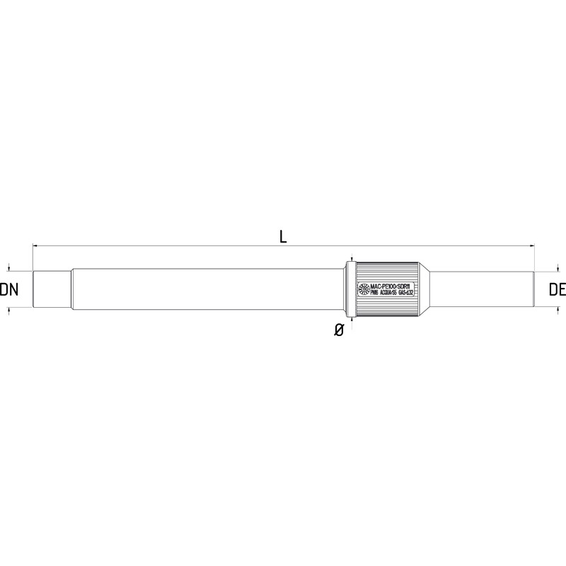
PE/ACERO RECTO CON TERMINAL LISO A SOLDAR

COMBUSTIBLE GAS use
Racor de transición PE/acero con terminala soldar. Realizado por medio de moldeo por inyección, se emplea para la conexiónde varios materiales (uno de los cuales debe ser polietileno) en instalaciones detuberías para el transporte de gas combustible.
MOP 10 bar
MOP
S5 (SDR11)

Materiales
  • Troncho de acero al carbono según ISO 3183/API 5L revestido externamente con triple capa de LDPE amarillo clase R3R según DIN30670/ISO21809.
  • Codo en polietileno alta densidad PE100, virgen de color negro.
  • O-ring en NBR 70 Sh.A certificado gas yagua potable (DVGW).
  • Anillo externo de estanqueidad en aceroS355J2H barnizado por polvo (esp. 200µm).
Certificaciones
  • UNI EN 1555-3 (KIWA KIP-095784)
  • UNI EN ISO 15494 (KIWA KIP-095785)
  • DVGW G5600-1 (DW-7521CR0259)
  • WATERMARK AS/NZS 4129 (WM 74644)
Anotación técnicas
  • Unión metal/PE conforme con la UNI 9736, de paso total y aislada de infiltraciones externas.
  • Ensayado con pruebas a presión según ISO 1167 y otras especificaciones de ensayo MACPLAST.
  • Hace de junta dieléctrica según la UNI 7129 por estar revestido en triple capa.
  • Dimensional polietileno según UNI EN 1555-3, espesor estándar SDR11.
  • Dimensional metal según ISO 3183.
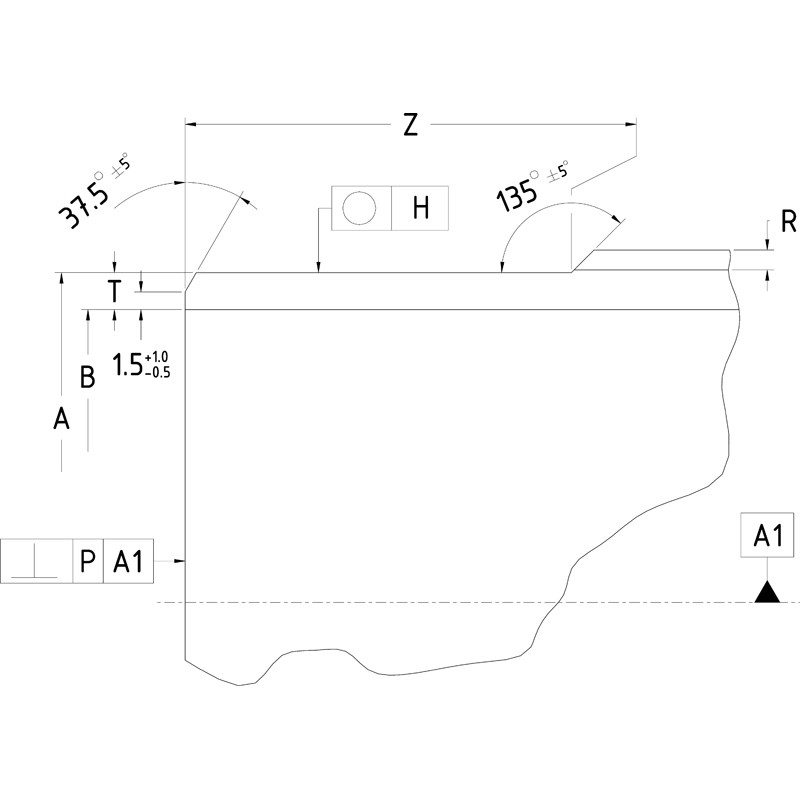
  • Terminal liso a soldar con bisel 37.5° según EN 12627.
Características adicionales
  • Provisto de o-ring de seguridad interno.
Más información
  • Racores estampados hasta DE225 x 8".
  • Los diámetros mayores se realizan mediante montaje mecánico con anillo externo de estanqueidad.
  • Previo pedido mango de (SDR17) desde DE250x8.
Normas
  • UNI EN 1555-3
  • ISO 4437-3
  • UNI EN ISO 15494
  • UNI EN 10226-1

Dimensionales

Referencia DE (mm) DN (inch) DN (mm) Ø (mm) L (mm) Peso (kg)
0030020015 20 1/2" 15 45 425 0.45
0030025020 25 3/4" 20 45 460 0.65
0030032025 32 1" 25 50 460 0.95
0030040032 40 1 1/4" 32 65 470 1.25
0030050040 50 1 1/2" 40 70 480 1.45
0030063050 63 2" 50 90 480 2.15
0030075065 75 2 1/2" 65 95 540 2.95
0030090080 90 3" 80 115 580 3.95
0030110080 110 3" 80 150 580 4.80
0030110100 110 4" 100 150 585 7.05
0030125100 125 4" 100 155 585 7.30
0030140125 140 5" 125 165 580 8.00
0030160150 160 6" 150 210 610 10.50
0030180150 180 6" 150 210 610 11.00
0030200200 200 8" 200 260 630 17.50
0030225200 225 8" 200 260 610 18.00
0030250200 250 8" 200 265 630 22.50
0030250250 250 10" 250 325 640 30.50
0030280250 280 10" 250 325 640 31.00
0030315250 315 10" 250 345 660 38.50
0030315300 315 12" 300 370 725 46.50
0030355300 355 12" 300 370 735 48.00
0030355350 355 14" 350 420 770 60.00
0030400350 400 14" 350 420 720 62.00
0030400400 400 16" 400 475 770 83.20
0030450400 450 16" 400 485 770 83.20
0030450450 450 18" 450 530 870 126.50
0030450500 450 20" 500 590 1050 125.00
0030500500 500 20" 500 590 1050 127.50
0030500530 500 21" 530 635 1020 181.50
0030560500 560 20" 500 590 850 121.00
0030630530 630 21" 530 665 1020 199.50
0030630600 630 24" 600 735 1100 242.00