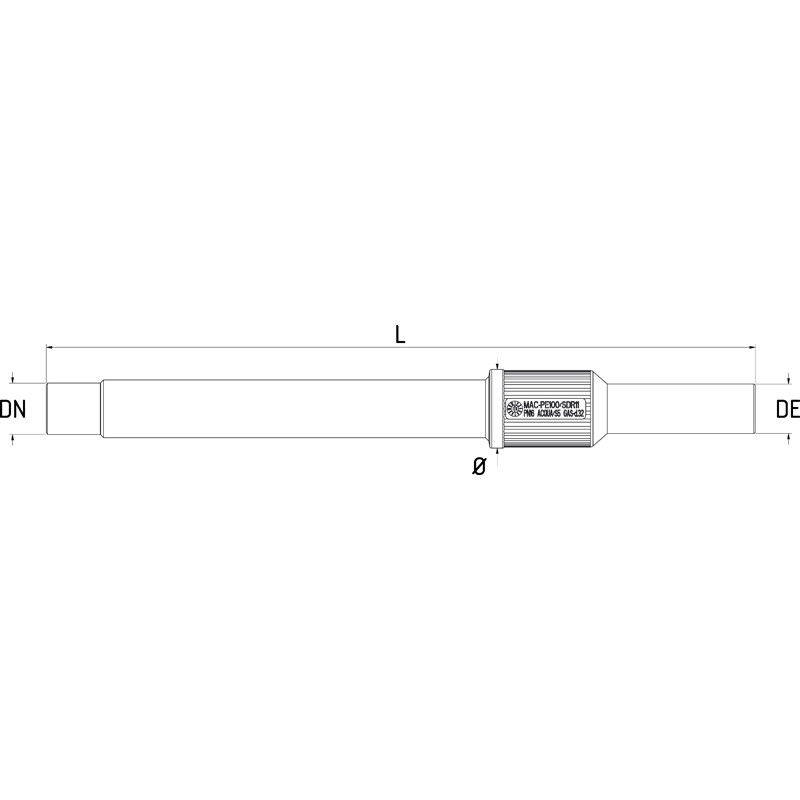
PE/STEEL STRAIGHT WITH WELDABLE TERMINAL

COMBUSTIBLE GAS use WATER use DRINKING WATER use INDUSTRIAL APPLICATION use for FIRE PREVENTION
PE/steel transition fitting with weldableterminal. Made by injection moulding, itis used for connection of different materials (one of which is polyethylene) on water or fuel gas piping systems. Compatible with potable water.
PN 16 bar
PN
MOP 10 bar
MOP
S5 / SDR11

Materials
  • Carbon steel tubing according to ISO 3183/API 5L, galvanised on the inside and on the outside according to UNI EN 10240-A1 (compliant with DM174 for compatibility with potable water, up to 8") and externally coated in a triple layer of black LDPE class R3R according to UNI 9099.
  • Virgin high density polyethylene PE100 spigot, black.
  • NBR 70 Sh. A O-ring approved for gas and potable water (DVGW).
  • Powder coated S355J2H steel outer sealing ring (thick.200µm).
Certifications
  • UNI EN 1555-3 (KIWA KIP-095784)
  • UNI EN 12201-3 D.M.174 (KIWA KIP-095789)
  • UNI EN ISO 15494 (KIWA KIP-095785)
  • DVGW G5600-1 (DW-7521CR0259)
  • DVGW GW335-B4 (DW-7511CR0156)
Technical notes
  • Metal/PE connection compliant with UNI 9736, with full bore passage and insulation against external infiltrations.
  • Certified for use on potable water systems according to M.D. 174 of 2004.
  • Subject to pressure testing according to ISO 1167 and additional MACPLAST test specification.
  • Serves as dielectric connection according to UNI 7129, as it is triple layer coated.
  • Polyethylene dimensions according to UNI EN 1555-3, standard thickness SDR11.
  • Metal dimensions according to ISO 3183.
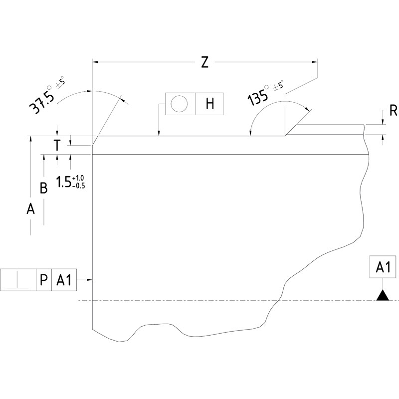
  • Weld-on terminal chamfered at 37.5° degree angle according to EN 12627.
Additional features
  • Fitted with internal safety o-ring.
More information
  • Injection moulded fittings up to DE225 x 8".
  • Larger diameters are produced through mechanical assembly with outer sealing ring.
  • S8 / SDR17 spigot on request from DE250x8".
Standards
  • UNI EN 1555-3
  • UNI EN 12201-3
  • ISO 4437-3
  • ISO 4427-3
  • UNI EN ISO 15494
  • UNI EN 10226-1

Dimensional

Reference DE (mm) DN (inch) DN (mm) Ø (mm) L (mm) Weight (kg)
0190020015 20 1/2" 15 45 425 0.45
0190025020 25 3/4" 20 45 460 0.65
0190032025 32 1" 25 50 460 0.95
0190040032 40 1 1/4" 32 65 470 1.25
0190050040 50 1 1/2" 40 70 480 1.45
0190063050 63 2" 50 90 480 2.15
0190075065 75 2 1/2" 65 95 540 2.95
0190090080 90 3" 80 115 580 3.95
0190110080 110 3" 80 150 580 4.80
0190110100 110 4" 100 150 585 7.05
0190125100 125 4" 100 155 585 7.30
0190140125 140 5" 125 165 580 8.00
0190160150 160 6" 150 210 610 10.50
0190180150 180 6" 150 210 610 11.00
0190200200 200 8" 200 260 630 17.50
0190225200 225 8" 200 260 610 18.00
0190250200 250 8" 200 265 630 22.50
0190250250 250 10" 250 325 640 30.50
0190280250 280 10" 250 325 640 31.00
0190315250 315 10" 250 345 660 38.50
0190315300 315 12" 300 370 725 46.50
0190355300 355 12" 300 370 735 48.00
0190355350 355 14" 350 420 770 60.00
0190400350 400 14" 350 420 720 62.00
0190400400 400 16" 400 475 770 83.20
0190450400 450 16" 400 485 770 83.20
0190450450 450 18" 450 530 870 126.50
0190450500 450 20" 500 590 1050 125.00
0190500500 500 20" 500 590 1050 127.50
0190500530 500 21" 530 635 1020 181.50
0190560500 560 20" 500 590 850 121.00
0190630530 630 21" 530 665 1020 199.50
0190630600 630 24" 600 735 1100 242.00