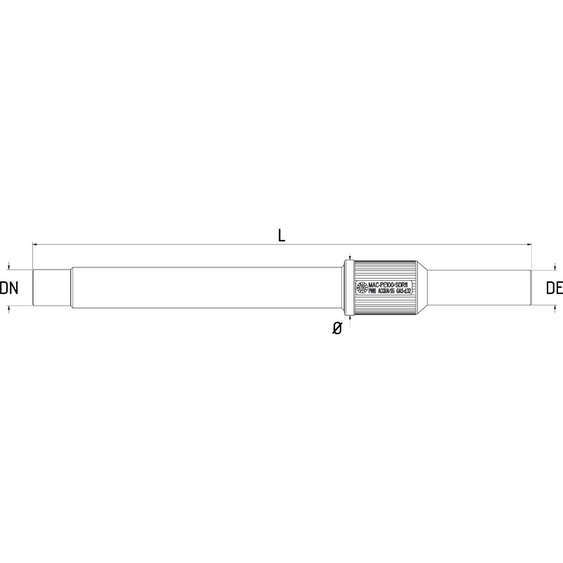
PE/ACCIAIO DRITTO CON TERMINALE LISCIO A SALDARE

COMBUSTIBLE GAS use WATER use DRINKING WATER use INDUSTRIAL APPLICATION use for FIRE PREVENTION
Raccordo di transizione PE/acciaio con terminale a saldare. Realizzato tramite stampaggio ad iniezione, viene impiegato per il collegamento di materiali differenti(di cui uno sia polietilene) su impiantidi tubazioni per il trasporto di acqua ogas combustibile. Compatibile con acqua potabile.
PN 16 bar
PN
MOP 10 bar
MOP
S5 / SDR11

Materiali
  • Tronchetto in acciaio al carbonio secondo ISO 3183/API 5L zincato int/est secondo UNI EN 10240-A1 (compatibile con acqua potabile fino a 4") e rivestito est. in LDPE nero cl.R3R triplo strato secondo UNI 9099,
  • Codolo in polietilene alta densità PE100, vergine di colore nero,
  • O-ring in NBR 70 Sh,A certificato gas e acqua potabile (DVGW),
  • Anello esterno di tenuta in acciaio S355J2H verniciato a polvere (sp.200µm).
Certificazioni
  • UNI EN 1555-3 (KIWA KIP-095784)
  • UNI EN 12201-3 D.M.174 (KIWA KIP-095789)
  • UNI EN ISO 15494 (KIWA KIP-095785)
  • DVGW G5600-1 (DW-7521CR0259)
  • DVGW GW335-B4 (DW-7511CR0156)
Annotazioni tecniche
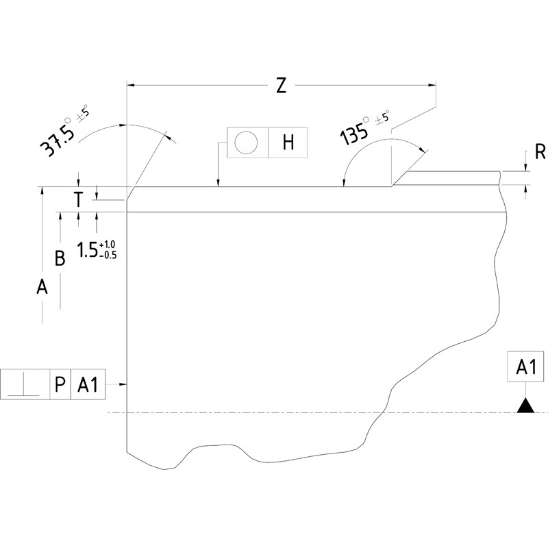
  • Giunzione metallo/PE conforme alla UNI 9736, a passaggio totale e isolata dalle infiltrazioni esterne,
  • Certificato all'utilizzo su impianti per acqua potabile secondo DIN 50930-6 (UBA-List) E D.M.174 (Italia),
  • Collaudato con prove a pressione secondo ISO 1167 e ulteriore specifica di collaudo MACPLAST,
  • Funge da giunto dielettrico secondo la UNI 7129 in quanto rivestito in triplo strato,
  • Dimensionale polietilene secondo UNI EN1555-3, spessore standard SDR11,
  • Dimensionale metallo secondo ISO 3183, terminale liscio a saldare con smusso 37.5° secondo EN 12627.
Caratteristiche aggiuntive
  • Dotato di o-ring di sicurezza interno.
Altre informazioni
  • Raccordi stampati fino al DE225 x 8`,
  • I grandi diametri sono realizzati tramite assemblaggio meccanico con anello esterno di tenuta,
  • A richiesta codolo in S8 (SDR17) dal DE250x8`.
Normative
  • UNI EN 1555-3
  • UNI EN 12201-3
  • ISO 4437-3
  • ISO 4427-3
  • UNI EN ISO 15494
  • UNI EN 10226-1

Dimensionali

Codice DE (mm) DN (inch) DN (mm) Ø (mm) L (mm) Peso (kg)
0190020015 20 1/2" 15 45 425 0.45
0190025020 25 3/4" 20 45 460 0.65
0190032025 32 1" 25 50 460 0.95
0190040032 40 1 1/4" 32 65 470 1.25
0190050040 50 1 1/2" 40 70 480 1.45
0190063050 63 2" 50 90 480 2.15
0190075065 75 2 1/2" 65 95 540 2.95
0190090080 90 3" 80 115 580 3.95
0190110080 110 3" 80 150 580 4.80
0190110100 110 4" 100 150 585 7.05
0190125100 125 4" 100 155 585 7.30
0190140125 140 5" 125 165 580 8.00
0190160150 160 6" 150 210 610 10.50
0190180150 180 6" 150 210 610 11.00
0190200200 200 8" 200 260 630 17.50
0190225200 225 8" 200 260 610 18.00
0190250200 250 8" 200 265 630 22.50
0190250250 250 10" 250 325 640 30.50
0190280250 280 10" 250 325 640 31.00
0190315250 315 10" 250 345 660 38.50
0190315300 315 12" 300 370 725 46.50
0190355300 355 12" 300 370 735 48.00
0190355350 355 14" 350 420 770 60.00
0190400350 400 14" 350 420 720 62.00
0190400400 400 16" 400 475 770 83.20
0190450400 450 16" 400 485 770 83.20
0190450450 450 18" 450 530 870 126.50
0190450500 450 20" 500 590 1050 125.00
0190500500 500 20" 500 590 1050 127.50
0190500530 500 21" 530 635 1020 181.50
0190560500 560 20" 500 590 850 121.00
0190630530 630 21" 530 665 1020 199.50
0190630600 630 24" 600 735 1100 242.00