PE/ACERO RECTO CON TERMINAL LISO A SOLDAR

COMBUSTIBLE GAS use WATER use DRINKING WATER use INDUSTRIAL APPLICATION use for FIRE PREVENTION
Racor de transición PE/acero con terminala soldar. Realizado por medio de moldeo por inyección, se emplea para la conexiónde varios materiales (de los cuales uno debe ser polietileno) en instalaciones delubricación para el transporte de agua ogas combustible. Compatible con agua potable.
PN 16 bar
PN
MOP 10 bar
MOP
S5 / SDR11

Materiales
  • Tronco de acero al carbono según ISO 3183/API 5L galvanizado interna y externamente según UNI EN 10240-A1 (conforme conel DM174 para compatibilidad con agua potable, hasta 8") y forrado externamente con triple extracto de LDPE negro clase R3R según UNI 9099.
  • Codo en polietileno alta densidad PE100, virgen de color negro.
  • O-ring en NBR 70 Sh.A certificado gas yagua potable (DVGW).
  • Anillo externo de estanqueidad en aceroS355J2H barnizado por polvo (esp. 200µm).
Certificaciones
  • UNI EN 1555-3 (KIWA KIP-095784)
  • UNI EN 12201-3 D.M.174 (KIWA KIP-095789)
  • UNI EN ISO 15494 (KIWA KIP-095785)
  • DVGW G5600-1 (DW-7521CR0259)
  • DVGW GW335-B4 (DW-7511CR0156)
Anotación técnicas
  • Unión metal/PE conforme con la UNI 9736, de paso total y aislada de infiltraciones externas.
  • Ensayado con pruebas a presión según ISO 1167 y otras especificaciones de ensayo MACPLAST.
  • Hace de junta dieléctrica según la UNI 7129 por estar revestido en triple capa.
  • Dimensional polietileno según UNI EN 1555-3, espesor estándar SDR11.
  • Dimensional metal según ISO 3183.
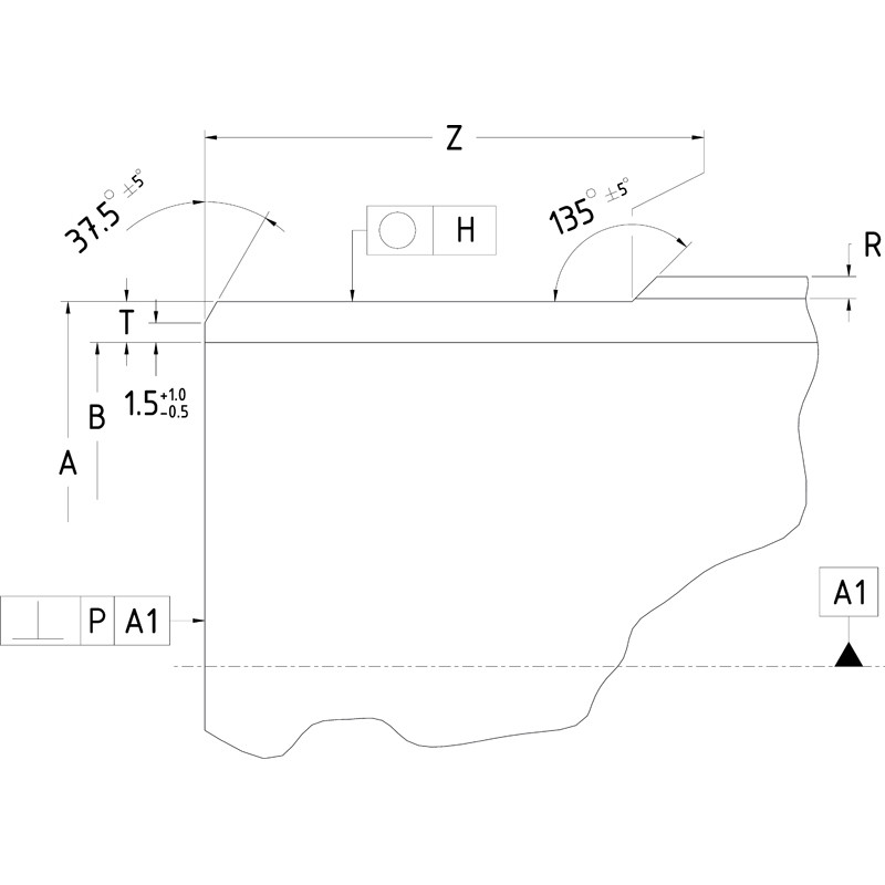
  • Terminal liso a soldar con bisel 37.5° según EN 12627.
  • Certificado para el uso en instalaciones para agua potable según el D.M. 174 del 2004.
Características adicionales
  • Provisto de o-ring de seguridad interno.
Más información
  • Racores estampados hasta DE225 x 8".
  • Los diámetros mayores se realizan mediante montaje mecánico con anillo externo de estanqueidad.
  • Previo pedido mango de (SDR17) desde DE250x8.
Normas
  • UNI EN 1555-3
  • UNI EN 12201-3
  • ISO 4437-3
  • ISO 4427-3
  • UNI EN ISO 15494
  • UNI EN 10226-1

Dimensionales

Referencia DE (mm) DN (inch) DN (mm) Ø (mm) L (mm) Peso (kg)
0190020015 20 1/2" 15 45 425 0.45
0190025020 25 3/4" 20 45 460 0.65
0190032025 32 1" 25 50 460 0.95
0190040032 40 1 1/4" 32 65 470 1.25
0190050040 50 1 1/2" 40 70 480 1.45
0190063050 63 2" 50 90 480 2.15
0190075065 75 2 1/2" 65 95 540 2.95
0190090080 90 3" 80 115 580 3.95
0190110080 110 3" 80 150 580 4.80
0190110100 110 4" 100 150 585 7.05
0190125100 125 4" 100 155 585 7.30
0190140125 140 5" 125 165 580 8.00
0190160150 160 6" 150 210 610 10.50
0190180150 180 6" 150 210 610 11.00
0190200200 200 8" 200 260 630 17.50
0190225200 225 8" 200 260 610 18.00
0190250200 250 8" 200 265 630 22.50
0190250250 250 10" 250 325 640 30.50
0190280250 280 10" 250 325 640 31.00
0190315250 315 10" 250 345 660 38.50
0190315300 315 12" 300 370 725 46.50
0190355300 355 12" 300 370 735 48.00
0190355350 355 14" 350 420 770 60.00
0190400350 400 14" 350 420 720 62.00
0190400400 400 16" 400 475 770 83.20
0190450400 450 16" 400 485 770 83.20
0190450450 450 18" 450 530 870 126.50
0190450500 450 20" 500 590 1050 125.00
0190500500 500 20" 500 590 1050 127.50
0190500530 500 21" 530 635 1020 181.50
0190560500 560 20" 500 590 850 121.00
0190630530 630 21" 530 665 1020 199.50
0190630600 630 24" 600 735 1100 242.00